Springe auf Hauptinhalt Springe auf Hauptmenü Springe auf SiteSearch
Sanitärtechnik

So funktionieren Druckminderer im Trinkwassersystem

tiagozr - stock.adobe.com

Trinkwassersysteme sind in der Regel für bestimmte, maximale Drücke ausgelegt. Werden Druckvorgaben überschritten, kann es zu Störungen und Lärmbelästigungen kommen. Wir stellen die kleinen Helfer vor.

Der Druckminderer fällt oft erst dann als Bauteil der Hausinstallation auf, wenn er nicht mehr funktioniert. Zum Teil meldet er sich dann durch jämmerliches Quietschen oder stotterndes Rattern im System. Ganze Mieterscharen wurden dadurch schon kurzfristig in den Wahnsinn getrieben. Aber wie funktioniert dieser Knecht und warum quietscht oder rattert er, wenn er seinen korrekten Dienst verweigert?

Herausforderungen für den Druckminderer

Einen Druck im Trinkwassersystem erfühlen wir als Nutzer üblicherweise als Wasserstrahl, der aus dem Hahn tritt. Ein scharfer Strahl lässt auf hohen Fließdruck schließen, während ein sanfter Wasserbogen auf einen geringen Druck schließen lässt.

Für ein Trinkwassersystem ist es oft ausreichend, genau mit der Einheit „Bar“ umzugehen und eine Stelle nach dem Komma mitzuziehen. Man liest also häufig einen Druck in Fließrichtung vor dem Druckminderer, daher Vordruck genannt, von vielleicht 10 bar ab. Allerdings nur in Ruhe. Wird an einem Verbraucher Wasser entnommen, fällt der Druck ab. Diesen Druck bezeichnet man als Fließdruck.

Innerhalb des Druckminderers sorgen eine Anzahl von Bauelementen für eine Druckreduzierung auf den gewünschten Ausgangsdruck. Dieser wird auch als Hinterdruck bezeichnet. Geregelt wird oft auf einen Druck von 4,0 bis 4,5 bar. Dieser Druck reicht häufig aus, um die gängigen Komponenten einer Installation sicher und komfortabel zu betreiben.

Zwei Faktoren machen den Vorgang des Druckminderns nun recht kompliziert. Zum einen beträgt der Vordruck im Trinkwassernetz des Versorgers nicht ganztägig 10 bar, sondern geht in Zeiten von Spitzenabnahmen in dem jeweiligen Stadtviertel auch mal runter auf vielleicht nur 4 bar. Zum anderen wird auf der Verbraucherseite nicht immer nur das Kaffeetässchen ausgespült, sondern auch mal die Schwallbrause im Bad gleichzeitig betrieben. Auf beide alltäglichen „Störfälle“ muss der Druckminderer in angemessener Zeit reagieren.

Mit progressiven Federn Hinterdruck anpassen

Damit der Leitungsdruck nicht das Glas aus der Hand schleudert, hat der Anlagenmechaniker einen Druckminderer eingebaut

gemenacom - stock.adobe.com

Damit der Leitungsdruck nicht das Glas aus der Hand schleudert, hat der Anlagenmechaniker einen Druckminderer eingebaut

Würde sich weder auf der Versorgungsseite noch auf der Verbraucherseite jemals etwas ändern, könnte man am Tag der Inbetriebnahme einer Hausinstallation ein Ventil in der ankommenden Anschlussleitung um einige Millimeter öffnen. Die Öffnung würde so reguliert, dass auch ungünstig gelegene und gleichzeitig anspruchsvolle Entnahmestellen im Hause ausreichend Wasser und Fließdruck erhalten. Beispielsweise könnte das die Raindance-Dusche im obersten Geschoss sein.

Dieser auf diese Raindance-Dusche eingestellte Druckverlust würde für alle Zeiten die Bedürfnisse im Hause erfüllen. Bei der Wasserentnahme würde durch einen konstanten Druckverlust in diesem einstellbaren Regulierventil nur eine definierte Wassermenge strömen und das System wäre zufriedenstellend im Gleichgewicht.

Um diesen Druckverlust einzustellen, müsste also dieses Ventil mit einem beweglichen Stift ausgestattet sein, der die Eintauchtiefe des Ventiltellers bestimmt. Dazu könnte man also auf den auf- und abwärts beweglichen Stift eines Ventils ein definiertes Gewicht legen. Dieses Gewicht würde das Ventil gegen den Druck des Wassers öffnen und ein Durchströmen ermöglichen. Mehr Gewicht würde das Ventil weiter öffnen als ein geringeres Gewicht. Mehr Gewicht würde also einen höheren Hinterdruck erzeugen als ein geringes Gewicht.

Tatsächlich würde die Idee mit dem Gewicht funktionieren, wäre aber unpraktisch. Man baut daher in der Praxis Federn ein. Diese lassen sich entsprechend vorspannen und man muss nicht mit verschiedenen Gewichten hantieren, um den Hinterdruck eines Druckminderers (DM) anzupassen. Das bedeutet, die Federn eines DM werden so hergestellt, dass diese beim fortschreitenden Zusammendrücken einen immer höheren Kraftaufwand erfordern. Dies sind sogenannte progressive Federn.

Honeywell

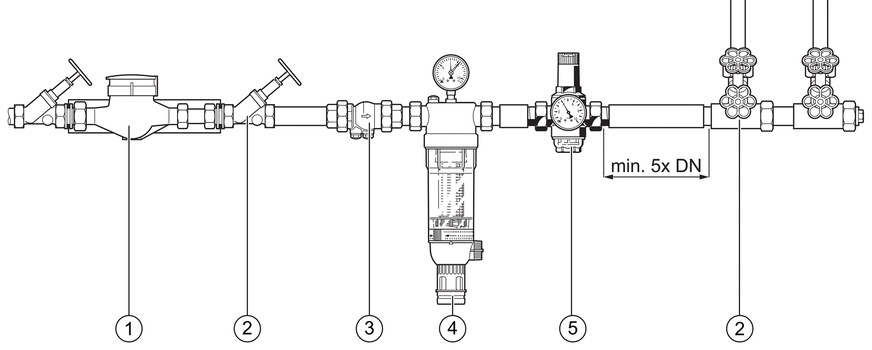
So kann es in Fließrichtung hinter dem Hausanschluss aussehen:
1. ) Wasserzähler
2.) Absperrventil
3.) Rückflussverhinderer
4.) Filter
5.) Druckminderer
Eine Beruhigungsstrecke von 5 x DN ist gekennzeichnet

Eine starke Vorspannung bewirkt also eine größere Öffnung des DM als eine geringe Vorspannung. Für den Fall der einfachen Druckregelung bei einem konstanten Versorgungsdruck und gleich bleibender Abnahme wäre das die ganze Herrlichkeit gewesen. Die Druckschwankungen, sei es durch die Abnahme des Vordrucks im Versorgungsnetz bei Spitzenentnahmen oder durch hohe Entnahmeleistungen innerhalb des Wohnhauses, sind so jedoch noch nicht glattzubügeln. Diese Konstruktion würde auf einen fallenden Versorgungsdruck in der Versorgungsleitung ebenso wie auf einen anschwellenden Verbrauch im Hause mit einem geringeren Hinterdruck reagieren, weil ja nun die Federkraft in Richtung Schließen überwiegen würde. Es muss also Hilfe beim Drücken rangeschafft werden.

Druckschwankungen kompensieren

Um die betriebsbedingten Druckschwankungen zu kompensieren, wird nun ein Kunstgriff angewendet. Man pimpt dieses federbelastete Ventil mit einer Membrane. Oberhalb der Membrane wirkt die bereits beschriebene Feder und „will“ das Regelventil öffnen. Unterhalb der Membrane wirkt der vorhandene Hinterdruck als Unterstützung in Richtung „Schließen“. Der Hinterdruck kann durch feine Bohrungen in den Bereich unterhalb der Membrane eindringen. Nun zerren also zwei Kräfte an dem Regelventil.

Mit vorgespannter progressiver Feder soll geöffnet werden und mit dem sich einstellenden Hinterdruck wird kraftvoll in Richtung „Absperren“ gedrückt. Es stellt sich üblicherweise ein Gleichgewicht ein, nämlich dann, wenn sich beide Kräfte, also Schließ- und Öffnungskräfte, aufheben. Dieses System mit entsprechender Feder und ausgeklügelten Bohrungen ist natürlich nicht für beliebig große oder kleine Volumenströme in nur einem Druckminderer vereinigt. Je nach Anforderung an die zu regelnden Drücke und die zu erwartenden Volumenströme sollte das Gerät schon angepasst werden. Aber das beschriebene Prinzip ist durchgängig zu finden.

Druckminderer dimensionieren

SBZ Monteur

Um die Regel-Eigenschaften gemäß den Anforderungen in vernünftigen Grenzen zu erhalten, sollte die Größe des DM sinnvoll ausgewählt werden. Es gilt nicht, wie gerne angenommen wird: An ein zölliges Rohr gehört auch ein zölliger Druckminderer. Kriterium ist dabei innerhalb eines herkömmlichen Trinkwassersystems der Spitzendurchfluss. Die zu erwartenden Volumenströme sollten also in einem gesunden Regelbereich des DM liegen. Bei winzigen Entnahmen (Schnapsglas füllen innerhalb von zwei Minuten) akzeptiert man dann die Regelabweichung ebenso wie beim Überschreiten (Füllen des Pools zum Sommeranfang). Aber die Standardentnahme, beispielsweise am Waschtisch, wird dann wunderbar und ohne merkbare Schwankungen glattgebügelt.

Wie man einen Druckminderer einstellt

Liegen keine gesicherten Erkenntnisse vor, auf welchen Druck der DM eingestellt werden soll, kann man als erste Näherung folgenden Ansatz übernehmen:

Der ungünstigste Verbraucher sollte zugrunde gelegt werden. Ist dies beispielsweise die Dusche im Obergeschoss, so muss für diese Dusche der Mindestfließdruck gewährleistet werden. Für eine Standarddusche beträgt dieser beispielsweise 1 bar. Das Wasser muss noch hoch zu dieser Dusche, wobei jeder Meter Höhendifferenz mit 0,1 bar erkauft werden muss. Es entstehen noch weitere Druckverluste in Rohren, Bögen, Trinkwassererwärmern und anderen Widerständen. Diese kann man in einem Einfamilienhaus nochmals großzügig bemessen mit ca. 1,0 bar ansetzen. Zusammen ergibt sich dann ein Startwert, mit dem man die Funktion des ungünstigsten Verbrauchers überprüfen kann.

Beispiel:

So sieht‘s im Inneren des Druckminderers aus.

Honeywell

So sieht‘s im Inneren des Druckminderers aus.

Höhendifferenz zwischen Hausanschluss und dem ungünstigsten Verbraucher: Beispiel mit 6 Metern entsprechend 0,6 bar

Mindestfließdruck des ungünstigsten Verbrauchers: 1 bar

Summe aus Druckverlusten: 1,0 bar

Macht zusammen:

1,0 bar
+ 0,6 bar
+ 1,0 bar
= 2,6 bar

Als Startwert für dieses Beispiel kann also am DM ein Hinterdruck von 2,6 bar eingestellt werden. Eine Überprüfung der Zapfleistung an der Dusche reicht aus, um diesen Wert zu bestätigen.

Ein funkelnagelneues Trinkwassernetz wird mit diesem Wert gut funktionieren. Ist das Rohrnetz uralt und von innen bereits „zugewachsen“, sind wahrscheinlich Anpassungen nach oben notwendig.

Bei jeder vorgeschriebenen jährlichen Wartung kann jeweils nachjustiert werden. Es spricht natürlich auch nichts dagegen, den Kunden in die Funktion einzuweisen. Dieser kann dann nach eigenem Gefühl und Bedarf nochmals nacharbeiten, sollte die Maximalgrenze von 5 bar jedoch nicht überschreiten.

Übrigens muss ein Gartenauslaufventil und ebenso ein Garagenanschluss nicht zwingend auf 5 bar Ruhedruck gedrosselt werden. An diesen beiden besonderen Zapfstellen darf der Druck auch 10 bar betragen. Es wäre ja auch schade, wenn man erst den Druck reduzieren und dann mittels Hochdruckreiniger wieder auf Trab bringen müsste, um die Terrasse zu reinigen. Oder wenn man das Schwimmbecken im Sommer deshalb nur langsam füllen kann, weil ein hinderliches Bauteil als Widerstand eingebaut wurde.

Was tun bei Störungen?

Eine Inspektion und routinemäßige Wartung sind nach DIN 806-5 jährlich durchzuführen. Trotzdem kann es zu Störungen am DM kommen. Das lästige Pfeifen oder Rattern beim Öffnen oder Schließen von Entnahmestellen in solchen Anlagen mit funktionsgestörtem DM kann meist sehr einfach behoben werden. Entweder wird der DM gesäubert und seine Verschleißteile werden erneuert. Oder, insbesondere bei Neuanlagen, die Dimension wird überprüft und der vielleicht dann oft zu groß dimensionierte DM wird ausgetauscht und gegen einen passenden ersetzt.

Ersatzteile für die routinemäßige Wartung eines Druckminderers:

 

Honeywell

 

1.) Federhaube
2.) Ventil-Einsatz
3.) Dichtring
4.) O-Ring
5.) Klarsicht-Filtertasse mit O-Ring
6.) Messing-Filtertasse mit O-Ring
7.) Ersatzsieb
8.) Verschlussstopfen mit O-Ring 1/4“

Letztlich ist das, was man bei diesen gestörten Anlagen hört, die Schwingungsfrequenz des sich ständig schließenden und dann wieder öffnenden Ventils im DM. Die Feder oberhalb der Membrane und der Hinterdruck unter der Membrane wechseln sich gegenseitig mit Mordsgetöse ab. Geschieht dies im Schließbereich des DM, so kommt es eben zu diesem Effekt.

Ein Grund für eine instabile Druckregelung kann auch eine zu kurze Beruhigungsstrecke in Fließrichtung hinter dem DM sein. Befindet sich in Fließrichtung hinter dem DM beispielsweise direkt ein Bogen, so kommt es in diesem Bogen, wie immer, zu Verwirbelungen. Diese normalen Verwirbelungen können auf die Strömungs- und damit auf die Druckverhältnisse im DM zurückwirken. Seine sonst so braven Regeleigenschaften werden gehemmt. Daher sollte das 5-fache der Nennweite (5 x DN-Regel) als Beruhigungsstrecke hinter dem DM eingehalten werden.

Druckminderer vor Speicher-Wassererwärmern

Der Druckminderer wird auch gerne vor Speicher-Wassererwärmern eingebaut. Steigt der Hinterdruck eines DM in einer solchen Installation nach Inbetriebnahme sehr langsam an und überschreitet dann aber immer wieder den Sollwert, kann das Übel auch in anderen Bauteilen ­liegen. Dieses Phänomen kann nämlich auch durch die Verbindung von Kalt- und Warmwasserleitung über nicht ganz dicht schließende ­thermostatische Mischer-Armaturen verursacht werden. Der DM ist in einem solchen Fall machtlos, denn der nun für den Speicher zu hohe Druck kommt rückwärts über die Warmwasserleitung.

Letztendlich kann es natürlich auch an der ständig bewegten Membrane des Druckminderers zu Alterungserscheinungen kommen. Zum Teil werden die Membranen auch undicht und Wasser tritt oberhalb des DM aus.

Bei den gängigen Modellen von namhaften Herstellern bekommt man Ersatz für die Innereien und der Grundkörper des DM versieht seinen ordentlichen Dienst locker für weitere zehn Jahre. Übrigens muss man den Druckminderer in Fließrichtung hinter einem Filter einbauen, um seine Lebensdauer zu verlängern. ■

Die Hausinstallation wird mit maximal 5 bar Ruhedruck einreguliert. Ein Gartenauslaufventil ebenso wie ein Garagenanschluss kann in Fließrichtung vor dem Druckminderer angeschlossen werden und sollte nicht über einen Wert von 10 bar Ruhedruck betrieben werden

IBH

Die Hausinstallation wird mit maximal 5 bar Ruhedruck einreguliert. Ein Gartenauslaufventil ebenso wie ein Garagenanschluss kann in Fließrichtung vor dem Druckminderer angeschlossen werden und sollte nicht über einen Wert von 10 bar Ruhedruck betrieben werden

Dieser Artikel erschien zuerst in der Heftausgabe SBZ Monteur 04-2022 unter dem Titel Meistens stiller Knecht.

Lesen Sie auch:
Wie funktioniert eigentlich ein Membran-Sicherheitsventil?

Objektbericht: Badrenovierung im Altbau
Legionellen: 5 Fehler beim Installieren der Trinkwasser-Anlage
Heizsysteme: Diese 8 Fehler sind bei der Druckhaltung zu vermeiden

Luft-Wasser-Wärmepumpen: 5 typische Probleme
Bad nachhaltig und ansprechend einrichten